一.性能特点:
1. "ZFK"系列浮球控制开关是一个能够调节桶-槽或井中液位的开关。它可自动调节-易于操作-便于安装-安全可靠-免予维修-无毒回收可再生的环保型浮球开关,可供水控制和排水控制。它对污水有抵抗作用,广泛应用于家庭-厂矿等的水池-油-酸和碱的池-桶-槽-罐等的容器之中。如果联两个控制器。一个放至水塔,另一个放至水井杰控制水泵,就能防止因水源不足开空泵而损坏水泵设备;也可以三有控制器串联,一个放至水塔,另一个放过滤池和一个放至河水(水井)能同时控件,就能防止因水源不足开空泵而损坏水泵设备;也可以三个控制器串联,一个放至河水(水井)能同时控制两台水泵设备。
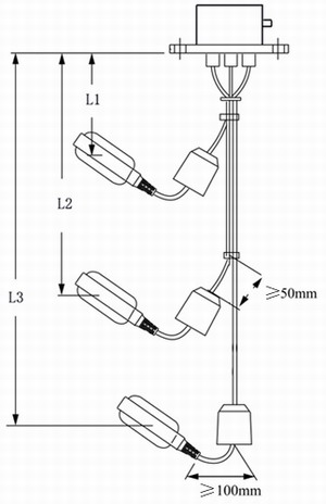
二.安装及接线方法:
| 使用黄色和黑色的电线: |
| 浮球在下液位时,接点是接通的状态。 |
| 浮球在上液位时,接点是不通的状态。 |
| 使用蓝色和黑色的电线: |
| 浮球在上液位时,接点是接通的状态。 |
| 浮球在下液位时,接点是不通的状态。 | |
| 三.技术参数: |
| 额定电流 |
额定电压 |
工作温度 |
控制范围 |
工作寿命 |
引线长度 |
| 10(8A)~10(4A) |
250V~380V |
| -10℃~60℃(塑料) |
| -10℃~110℃(不锈钢) | |
≥0.2m |
≥50000 |
| 1m 3m 4m 10m |
| 特殊长度及材料可按要求订制 | | |  |