返回首页    ENGLISH   联系我们
 
首  页
公司简介
企业荣誉
产品展示
信息反馈
新闻中心
在线订单
营销中心
联系我们
 
 
    点击展开详细分类↓
    浮球水位开关
    侧装浮球水位开关
    物位/料位开关
    冲击式气锤
    压力/液位变送系列
    水流量开关
    压差表/压差开关
    磁性浮球浮子
    配件附件零件
  产品展示 首页 >> 产品展示
FYK-221

一.性能特点:

1. "ZFK"系列浮球控制开关是一个能够调节桶-槽或井中液位的开关。它可自动调节-易于操作-便于安装-安全可靠-免予维修-无毒回收可再生的环保型浮球开关,可供水控制和排水控制。它对污水有抵抗作用,广泛应用于家庭-厂矿等的水池-油-酸和碱的池-桶-槽-罐等的容器之中。如果联两个控制器。一个放至水塔,另一个放至水井杰控制水泵,就能防止因水源不足开空泵而损坏水泵设备;也可以三有控制器串联,一个放至水塔,另一个放过滤池和一个放至河水(水井)能同时控件,就能防止因水源不足开空泵而损坏水泵设备;也可以三个控制器串联,一个放至河水(水井)能同时控制两台水泵设备。

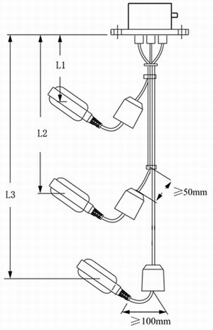
二.安装及接线方法:
使用棕色和黑色的电线:
    浮球在下液位时,接点是接通的状态。
    浮球在上液位时,接点是不通的状态。
使用蓝色和黑色的电线:
    浮球在上液位时,接点是接通的状态。
    浮球在下液位时,接点是不通的状态。

三.技术参数:
额定电流 额定电压 工作温度 控制范围 工作寿命 引线长度
10(8A)~10(4A) 250V~380V
-10℃~60℃(塑料)
-10℃~110℃(不锈钢)
≥0.2m ≥50000
1m 3m 4m 10m
特殊长度及材料可按要求订制

友情链接: mapressure 浮球开关


地址:浙江省乐清市盐盆经济开发区 客服微信:35375828
电话:0577-62058886  62058887 
网址:zpyb.com E-mail:ZPYB@163.com

点击这里给我发消息

技术支持:传信网络 浙ICP备07027404号

访问统计: